ホワイト
ブラック
tower / 室内干しハンガー / 1個
かもいに掛けるだけ
"ちょい干し" に便利な「室内干しハンガー」
ご自宅のバスルームやリビングの扉に、かもいはありますか?
その木枠・かもいに取り付けるだけで、簡単に物干しスペースを増設できる、towerの「室内干しハンガー」をご紹介します。
脱衣所で使うなら、着替えやタオルなどを一時的に掛けておく場所にも◎
物干しスペースが足りないときや、外に出しにくいアイテムの室内干しにとても便利です!

バッグや羽織りの定位置に

よく使うお気に入りのアイテムは、ぱっと手に取れる場所に置きたいもの。
もしもクローゼットや玄関の近くにかもいがあるなら、このハンガーを取り付けてコートやバッグの定位置にするのもおすすめですよ。
シンプルなデザインなので何も掛けていない時も、違和感なく空間に馴染みます。

2つ使ってスペースを延長

こちらを2個お求めいただきポールを渡すと、手軽にに物干しスペースを増設することができます。
※商品は「1個の販売」です。セット販売ではありませんのでご注意ください。
簡単に取り付けられます

取り付けはとっても簡単。引っ掛けたら、手で調節ネジを締めるだけです。
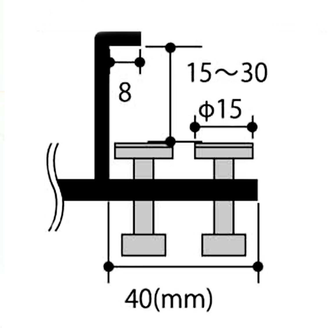
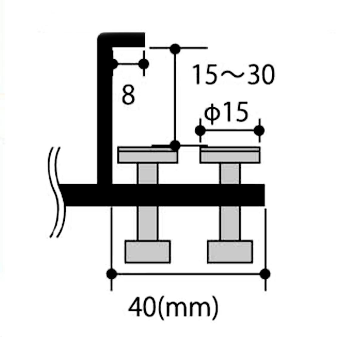
ここで少しご注意を。取り付けられるかもいの厚みは1.5〜3cm、上部の奥行きは0.8cm以上、下部の奥行きは4cm以上必要です。まずは、取り付ける場所のサイズをご確認ください。

室内物干しシリーズは、全4種

ちょっとしたスペースに洗濯物を干したりタオルを掛けられたらという、日常の中の「こうだったらいいいな」を叶えてくれるtowerの室内干しアイテム。
使い勝手の良いフックやハンガーバーもございます。
ぜひ合わせてご覧くださいね。
【取り付け可能なかもいのサイズ】
ご購入前に、取り付ける場所のサイズをご確認ください。
取り付け可能なかもいの厚みは1.5〜3cm、上の奥行きは0.8cm以上、下の奥行きは4cm必要です。

【製品サイズ】

【ご注文の前にご確認ください】
※こちらの商品は1個の販売 です。
◎以下の場合は、お客さまのご都合による返品は基本的に承りかねます。ご理解いただけますようお願い申し上げます。
・一度ご使用になられた場合、またその形跡のある商品。
・お客様の責任で、商品が破損しているもの。
・返品のご連絡がないまま返送された商品。
・商品到着より1週間後にご連絡をいただいた商品。
・返品受付後(当店よりご連絡後)1週間をすぎての荷物が到着した場合。
※なお、当店ではお客さまのご都合による交換は承っておりません。その場合は商品を返品の上、あらためてご希望の商品をご注文いただけますようお願い申し上げます。
インフォメーション
| ブランド | tower - 日本 |
| 素材 | スチール(粉体塗装) |
| サイズcm(約) | W2×D24×H4.2 |
| 重量g(約) | 160 |
| 耐荷重 | 約2kg |
| 取り付け可能な場所 |
枠の厚み:1.5~3cm 枠上部の奥行き(引っ掛け部分):0.8cm以上 枠下部の奥行き:4cm以上 |
| 生産国 | made in China |
| お手入れ方法 | ・製品に付いた汚れや水分は乾いた布で拭き、しっかり乾かしてください。長時間付着したまま放置すると錆の原因となります。 ・シンナー・ベンジン等の薬品は塗装を傷めますので、ご使用はお避けください。 |
| 注意事項 | ※同梱されている取扱説明書をご使用の前に必ずお読みください。 ※転倒・落下・ケガ・破損・変形・変色・接着面のキズ・錆等の原因となりますので、以下の点にはご注意ください。 ・製品を本来の目的以外に使用しないでください。 ・製品は屋内でご使用ください。 ・扉やドア枠、かもいなどの接地面の表面加工によっては固定しにくい場合もあります。ぐらつきが大きい場合は使用しないでください。 ・扉やドア枠、かもいなどのサイズや形状によっては設置できないものもあります。 ・設置後、製品が固定され安定しているかどうか、ご確認のうえご使用ください。 ・接地面の形状によっては、接地面のキズや破損の原因になることがあります。 ・ものを掛ける際は、重心の偏りのないようバランスよく掛けてください。 ・ものを掛けた状態で移動させないでください。 ・濡れた状態のものは掛けないでください。 ・サイズや形状によっては収納できないものや、掛けられないものがあります。 ・貴重品・壊れやすいもの・危険なものは掛けないでください。 ・製品を2個使い物干し竿を設置する場合は、竿が安定していて傾いてないか確認してください。 ・耐荷重は必ずお守りください。 ・耐荷重制限内でも、大きな衝撃により製品が落下し、ケガや破損の原因になることがありますのでご注意ください。 ・耐荷重は扉やドア枠、かもいの厚みや表面の塗装・壁面の強度や状態によって異なります。 ・直射日光や火が直接あたる場所や高温になる所では使用しないでください。 ※お使いのPCモニター、スマートフォンの機種によって、実際の色味と見え方が異なる場合がございます。予めご了承ください。 |



